聯系人:陳錫烽
手 機:13815981616 15295238777
電 話:0523-84569016 84553205
傳 真:0523-84561364
地 址:江蘇省泰州市靖江市城北園區富前路88號
HL3-2A高效低噪混流風機 |
![]() |
一、概述
HL3-2A(SWF-B)型混流式低噪聲、節能型通風機是介于軸流式和離心式通風機之間的一種新型風機,它具有離心式通風機高的壓力,軸流式通風機大的流量,效率高、節能、噪聲低、安裝方便等特點。
HL3-2A型通風機設計新穎、結構緊湊、體積小、重量輕、易安裝,與老式的離心式通風機相比可節電20%,轉速小于2000rpm時,噪聲低于75dB(A),風機聯接管道和和安裝在空調箱內時,噪聲小于70 dB(A),可替代2000rpm以下的中、低壓離心風機,廣泛應用于工業、民用建筑、通風除塵等領域。
二、風機的結構特征
風機主要由葉輪、機殼、進口集流器、導流片、電動機等部件組成。葉輪采用具有子午加速特征的數個扭曲翼形葉片焊接在錐形輪轂上,經動平衡校驗,超速試驗,有良好的空氣動力性能。
機殼采用圓筒形,與具有消音功能的集流器聯成整體,出風口裝有導流片,具有良好的氣流分布,壓力穩定。
三、風機的用途
1. 應用場所:冷凍、空調、紡織、船舶、民用建筑等空調工程通風換氣。
2. 輸送氣體的種類:空氣和其它不自燃的、對人體無害的、對鋼材無腐蝕性的氣體,在特殊環境中,可選用防爆型混流風機。
3. 氣體的雜質:氣體內不允許有粘性物質,所含塵土及硬質顆粒物不大于150mg/m3。
4. 氣體的溫度:不得超過80℃。
四、風機性能的選擇
1. 風機的性能在性能表上查閱,表中列出的性能是ZUI高效率范圍內的性能,按流量分為五個性能點,選用時按性能表為準。
2. 出廠的風機合格品性能在額定流量下全壓不超過±5%.
3. 性能選用表是標準狀態下的性能,無論技術文件或定貨要求的性能均按標準狀態為準,標準狀態大氣β=101325Pa,t=20℃,相對濕度ψ=50%。當實際使用條件與上述不符合時按有關公式進行換算。
4. 風機安裝方式可分為立式和臥式,如需立式安裝請在訂貨時注明,如在流量、壓力、安裝尺寸等性能參數上有特殊要求時,本公司將為您另行設計生產。
5. 風機代號定義:

五、風機的安裝
1. 風機安裝時應對各部件進行全面檢查,機件是否完整,各部件聯接是否緊固。
2. 風機安裝時注意保持風機的水平位置,對風機與地基的結合面和出風管的聯接等,應調整使之自然吻合不得有強行聯接,不允許將管道重量加在風機的部件上。
3. 風機在運轉時如發現有劇烈的振動撞擊等反常現象必須立即停車檢查。
4. 風機在露天使用應有防雨措施。
5. 按期清除風機內部積灰、污垢等雜質,并防止銹蝕。
注:風機的性能參數及結構尺寸,本公司若有變更,恕不另行通知。
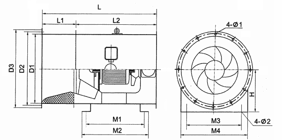
HL3-2A高效低噪混流風機安裝及外形尺寸 
不同型號詳細參數表:
| 機號 | 進風口尺寸 | 外形尺寸L=L1+L2 | 底腳尺寸 | 參考 重量 (kg) | ||||||||||||||||||
| D1 | D2 | D3 | n-Φ1 | H | L1 | 機殼長度L2 | M4 | M2 | M3 | M1 | 4-Φd2 | |||||||||||
| 2極 | 4極 | 6極 | 8極 | 2極 | 4極 | 6極 | 8極 | 2極 | 4極 | 6極 | 8極 | |||||||||||
| 2.5 | 282 | 311 | 336 | 6-Φ6.5 | 191 | 150 | 380 | 380 | 380 | 282 | 366 | 366 | 366 | 232 | 323 | 323 | 323 | Φ11 | 18 | |||
| 3 | 338 | 367 | 392 | 8-Φ6.5 | 219 | 180 | 395 | 395 | 395 | 338 | 387 | 387 | 387 | 278 | 344 | 344 | 344 | Φ11 | 27 | |||
| 3.5 | 394 | 428 | 458 | 8-Φ6.5 | 257 | 210 | 450 | 415 | 415 | 394 | 449 | 409 | 409 | 324 | 405 | 365 | 365 | Φ11 | 37 | |||
| 4 | 450 | 486 | 516 | 8-Φ8.5 | 285 | 240 | 600 | 435 | 435 | 450 | 579 | 427 | 427 | 370 | 525 | 373 | 373 | Φ11 | 49 | |||
| 4.5 | 506 | 547 | 582 | 8-Φ8.5 | 323 | 270 | 620 | 480 | 480 | 506 | 601 | 464 | 464 | 416 | 547 | 410 | 410 | Φ13 | 65 | |||
| 5 | 563 | 604 | 639 | 8-Φ11 | 352 | 300 | 740 | 560 | 500 | 563 | 720 | 546 | 484 | 463 | 656 | 482 | 420 | Φ13 | 84 | |||
| 5.5 | 619 | 665 | 705 | 10-Φ11 | 390 | 330 | 580 | 540 | 580 | 619 | 566 | 531 | 571 | 509 | 502 | 467 | 507 | Φ13 | 100 | |||
| 6 | 675 | 721 | 761 | 12-Φ11 | 418 | 360 | 680 | 600 | 600 | 675 | 663 | 586 | 591 | 555 | 594 | 517 | 528 | Φ15 | 125 | |||
| 6.5 | 732 | 778 | 818 | 12-Φ11 | 456 | 390 | 740 | 640 | 640 | 732 | 723 | 626 | 611 | 602 | 653 | 556 | 547 | Φ15 | 150 | |||
| 7 | 788 | 839 | 884 | 12-Φ11 | 484 | 420 | 810 | 720 | 680 | 788 | 800 | 703 | 651 | 648 | 725 | 628 | 587 | Φ16 | 182 | |||
| 7.5 | 844 | 895 | 940 | 14-Φ13 | 522 | 450 | 880 | 780 | 740 | 844 | 866 | 764 | 722 | 694 | 791 | 689 | 647 | Φ16 | 213 | |||
| 8 | 900 | 951 | 996 | 14-Φ13 | 550 | 480 | 925 | 800 | 800 | 900 | 914 | 787 | 785 | 740 | 834 | 707 | 705 | Φ16 | 247 | |||
| 8.5 | 957 | 1013 | 1063 | 14-Φ13 | 579 | 510 | 1000 | 880 | 820 | 957 | 975 | 863 | 806 | 787 | 894 | 780 | 723 | Φ16 | 276 | |||
| 9 | 1013 | 1069 | 1119 | 16-Φ13 | 617 | 540 | 1080 | 940 | 900 | 1013 | 1060 | 928 | 881 | 833 | 974 | 842 | 795 | Φ16 | 307 | |||
| 9.5 | 1070 | 1126 | 1176 | 16-Φ13 | 646 | 570 | 1110 | 970 | 970 | 1070 | 1100 | 954 | 906 | 880 | 1014 | 868 | 820 | Φ16 | 307 | |||
| 10 | 1125 | 1181 | 1231 | 16-Φ15 | 673 | 600 | 1350 | 1050 | 980 | 1125 | 1227 | 1037 | 975 | 925 | 1247 | 948 | 883 | Φ16 | 380 | |||
| 10.5 | 1180 | 1236 | 1286 | 16-Φ15 | 706 | 630 | 1400 | 1140 | 1050 | 1180 | 1248 | 1135 | 998 | 970 | 1280 | 1012 | 947 | Φ16 | 441 | |||
| 11 | 1237 | 1303 | 1363 | 16-Φ15 | 735 | 660 | 1465 | 1160 | 1100 | 1237 | 1350 | 1148 | 1088 | 1017 | 1350 | 1058 | 998 | Φ16 | 518 | |||
| 11.5 | 1294 | 1350 | 1400 | 16-Φ15 | 765 | 690 | 1620 | 1230 | 1180 | 1294 | 1602 | 1213 | 1164 | 1064 | 1510 | 1115 | 1066 | Φ16 | 595 | |||
| 12 | 1350 | 1416 | 1476 | 16-Φ15 | 793 | 720 | 1710 | 1330 | 1200 | 1350 | 1694 | 1314 | 1184 | 1110 | 1594 | 1210 | 1084 | Φ16 | 672 | |||
| 12.5 | 1406 | 1472 | 1532 | 16-Φ15 | 823 | 750 | 1800 | 1420 | 1250 | 1406 | 1784 | 1404 | 1234 | 1156 | 2198 | 1304 | 1134 | Φ19 | 761 | |||
| 13 | 1462 | 1538 | 1608 | 18-Φ15 | 854 | 780 | 1250 | 1500 | 1290 | 1462 | 1239 | 1484 | 1274 | 1202 | 1131 | 1374 | 1163 | Φ19 | 854 | |||
| 13.5 | 1518 | 1596 | 1658 | 18-Φ15 | 885 | 810 | 1285 | 1650 | 1410 | 1518 | 1267 | 1634 | 1394 | 1238 | 1165 | 1509 | 1269 | Φ19 | 952 | |||
| 14 | 1574 | 1654 | 1714 | 18-Φ15 | 916 | 840 | 1340 | 1810 | 1460 | 1574 | 1320 | 1790 | 1419 | 1284 | 1192 | 1662 | 1289 | Φ19 | 1058 | |||
| 說明:單元格涂黃為10極560rpm尺寸;參考重量不包括電機重量。 | ||||||||||||||||||||||
| 機號 | 轉速 | 風量 | 風壓 | 功率 | 噪聲 | 機號 | 轉速 | 風量 | 風壓 | 功率 | 噪聲 | |
| (rpm) | (m3/h) | (Pa) | (kW) | dB(A) | (rpm) | (m3/h) | (Pa) | (kW) | dB(A) | |||
| 2.5 | 2900 | 2253 | 402 | 0.75 | 73 | 4 | 2900 | 9227 | 1028 | 5.5 | 77 | |
| 2039 | 452 | 8351 | 1159 | |||||||||
| 1396 | 532 | 6946 | 1363 | |||||||||
| 1496 | 542 | 6127 | 1387 | |||||||||
| 1340 | 554 | 5490 | 1419 | |||||||||
| 1450 | 1126 | 100 | 0.55 | 61 | 1450 | 4614 | 257 | 0.75 | 64 | |||
| 1019 | 113 | 4176 | 290 | |||||||||
| 848 | 133 | 3473 | 341 | |||||||||
| 748 | 135 | 3064 | 347 | |||||||||
| 670 | 139 | 2745 | 355 | |||||||||
| 960 | 746 | 44 | 0.55 | 52 | 960 | 3055 | 112 | 0.55 | 57 | |||
| 675 | 50 | 2765 | 127 | |||||||||
| 561 | 58 | 2299 | 149 | |||||||||
| 495 | 59 | 2028 | 152 | |||||||||
| 444 | 61 | 1817 | 156 | |||||||||
| 3 | 2900 | 3893 | 578 | 1.1 | 74 | 4.5 | 2900 | 13138 | 1301 | 7.5 | 76 | |
| 3523 | 651 | 11891 | 1466 | |||||||||
| 2930 | 767 | 9889 | 1725 | |||||||||
| 2585 | 780 | 8724 | 1755 | |||||||||
| 2316 | 798 | 7816 | 1796 | |||||||||
| 1450 | 1946 | 145 | 0.55 | 61 | 1450 | 6569 | 325 | 1.1 | 66 | |||
| 1762 | 163 | 5945 | 367 | |||||||||
| 1465 | 192 | 4945 | 431 | |||||||||
| 1293 | 195 | 4362 | 439 | |||||||||
| 1158 | 200 | 3908 | 449 | |||||||||
| 960 | 1289 | 63 | 0.55 | 53 | 960 | 4349 | 143 | 0.55 | 58 | |||
| 1166 | 71 | 3936 | 161 | |||||||||
| 970 | 84 | 3274 | 189 | |||||||||
| 856 | 85 | 2888 | 192 | |||||||||
| 767 | 87 | 2586 | 196 | |||||||||
| 3.5 | 2900 | 6181 | 787 | 2.2 | 75 | 5 | 2900 | 18022 | 1606 | 15 | 80 | |
| 5595 | 887 | 16311 | 1810 | |||||||||
| 4653 | 1044 | 13565 | 2130 | |||||||||
| 4104 | 1062 | 11967 | 2167 | |||||||||
| 3678 | 1086 | 10722 | 2217 | |||||||||
| 1450 | 3091 | 197 | 0.55 | 62 | 1450 | 9091 | 402 | 2.2 | 68 | |||
| 2797 | 222 | 8156 | 452 | |||||||||
| 2327 | 261 | 6783 | 532 | |||||||||
| 2052 | 265 | 5984 | 542 | |||||||||
| 1839 | 272 | 5361 | 554 | |||||||||
| 960 | 2046 | 86 | 0.55 | 54 | 960 | 5966 | 176 | 0.75 | 59 | |||
| 1852 | 97 | 5400 | 198 | |||||||||
| 1540 | 114 | 4491 | 233 | |||||||||
| 1359 | 116 | 3962 | 237 | |||||||||
| 1217 | 119 | 3549 | 243 |
| 機號 | 轉速 | 風量 | 風壓 | 功率 | 噪聲 | 機號 | 轉速 | 風量 | 風壓 | 功率 | 噪聲 | |
| (rpm) | (m3/h) | (Pa) | (kW) | dB(A) | (rpm) | (m3/h) | (Pa) | (kW) | dB(A) | |||
| 5.5 | 1450 | 11993 | 486 | 3 | 65 | 7.5 | 1450 | 30411 | 904 | 15 | 78 | |
| 10855 | 548 | 27525 | 1018 | |||||||||
| 9028 | 644 | 22892 | 1198 | |||||||||
| 7964 | 655 | 20195 | 1219 | |||||||||
| 7136 | 670 | 18094 | 1247 | |||||||||
| 960 | 7941 | 213 | 1.1 | 59 | 960 | 20135 | 396 | 4 | 72 | |||
| 7187 | 240 | 18223 | 446 | |||||||||
| 5977 | 282 | 15156 | 525 | |||||||||
| 5273 | 287 | 13370 | 534 | |||||||||
| 4724 | 294 | 11979 | 547 | |||||||||
| 720 | 5955 | 120 | 1.1 | 57 | 720 | 15101 | 223 | 2.2 | 67 | |||
| 5390 | 135 | 13668 | 251 | |||||||||
| 4483 | 159 | 11367 | 295 | |||||||||
| 3954 | 162 | 10027 | 301 | |||||||||
| 3543 | 165 | 8984 | 308 | |||||||||
| 6 | 1450 | 15571 | 578 | 5.5 | 70 | 8 | 1450 | 36908 | 1028 | 18.5 | 82 | |
| 14093 | 652 | 33405 | 1159 | |||||||||
| 11721 | 767 | 27782 | 1363 | |||||||||
| 10340 | 780 | 24509 | 1387 | |||||||||
| 9264 | 798 | 21959 | 1419 | |||||||||
| 960 | 10309 | 253 | 1.5 | 66 | 960 | 24436 | 451 | 5.5 | 74 | |||
| 9330 | 286 | 22117 | 508 | |||||||||
| 7760 | 336 | 18394 | 597 | |||||||||
| 6846 | 342 | 16227 | 608 | |||||||||
| 6133 | 350 | 14538 | 622 | |||||||||
| 720 | 7732 | 142 | 1.1 | 58 | 720 | 18327 | 253 | 2.2 | 71 | |||
| 6998 | 161 | 16587 | 286 | |||||||||
| 5820 | 189 | 13795 | 336 | |||||||||
| 5134 | 192 | 12170 | 342 | |||||||||
| 4600 | 197 | 10904 | 350 | |||||||||
| 6.5 | 1450 | 19797 | 679 | 7.5 | 74 | 8.5 | 1450 | 44270 | 1161 | 22 | 85 | |
| 17918 | 765 | 40068 | 1308 | |||||||||
| 14902 | 890 | 33323 | 1539 | |||||||||
| 13146 | 916 | 29398 | 1566 | |||||||||
| 11778 | 937 | 26339 | 1602 | |||||||||
| 960 | 13107 | 298 | 2.2 | 68 | 960 | 29310 | 509 | 7.5 | 77 | |||
| 11863 | 335 | 26528 | 573 | |||||||||
| 9866 | 394 | 22062 | 674 | |||||||||
| 8704 | 401 | 19463 | 686 | |||||||||
| 7798 | 411 | 17438 | 702 | |||||||||
| 720 | 9830 | 167 | 1.1 | 62 | 720 | 21983 | 286 | 3 | 73 | |||
| 8897 | 189 | 19896 | 322 | |||||||||
| 7399 | 222 | 16547 | 379 | |||||||||
| 6528 | 226 | 14597 | 386 | |||||||||
| 5849 | 231 | 13079 | 395 | |||||||||
| 7 | 1450 | 24726 | 787 | 11 | 77 | 9 | 1450 | 52551 | 1301 | 30 | 88 | |
| 22379 | 887 | 47563 | 1466 | |||||||||
| 18612 | 1044 | 39557 | 1726 | |||||||||
| 16419 | 1061 | 34897 | 1755 | |||||||||
| 14710 | 1086 | 31266 | 1796 | |||||||||
| 960 | 16370 | 345 | 3 | 70 | 960 | 34793 | 570 | 11 | 80 | |||
| 14816 | 388 | 31490 | 643 | |||||||||
| 12322 | 457 | 26189 | 756 | |||||||||
| 10871 | 465 | 23104 | 769 | |||||||||
| 9340 | 476 | 20700 | 787 | |||||||||
| 720 | 12278 | 194 | 1.5 | 64 | 720 | 26094 | 320 | 4 | 75 | |||
| 1112 | 219 | 23618 | 362 | |||||||||
| 9242 | 257 | 19642 | 425 | |||||||||
| 8152 | 262 | 15525 | 433 | |||||||||
| 7305 | 268 | 14789 | 443 |
| 機號 | 轉速 | 風量 | 風壓 | 功率 | 噪聲 | 機號 | 轉速 | 風量 | 風壓 | 功率 | 噪聲 | |
| (rpm) | (m3/h) | (Pa) | (kW) | dB(A) | (rpm) | (m3/h) | (Pa) | (kW) | dB(A) | |||
| 9.5 | 1450 | 61806 | 1448 | 37 | 91 | 12 | 1450 | 124567 | 2311 | 132 | 111 | |
| 55935 | 1635 | 112734 | 2609 | |||||||||
| 46526 | 1921 | 93772 | 3064 | |||||||||
| 41041 | 1956 | 82716 | 3121 | |||||||||
| 36769 | 2001 | 74107 | 3192 | |||||||||
| 960 | 40920 | 634 | 11 | 82 | 960 | 82472 | 1013 | 37 | 92 | |||
| 37033 | 717 | 74638 | 1144 | |||||||||
| 30803 | 842 | 62083 | 1343 | |||||||||
| 27172 | 857 | 54764 | 1368 | |||||||||
| 24344 | 877 | 49064 | 1399 | |||||||||
| 720 | 30690 | 357 | 5.5 | 76 | 720 | 61854 | 570 | 15 | 86 | |||
| 27774 | 403 | 55978 | 643 | |||||||||
| 23102 | 473 | 46562 | 755 | |||||||||
| 20379 | 482 | 41073 | 769 | |||||||||
| 18258 | 494 | 36798 | 787 | |||||||||
| 10 | 1450 | 72087 | 1606 | 55 | 92 | 12.5 | 1450 | 140796 | 2507 | 160 | 117 | |
| 65245 | 1810 | 127422 | 2831 | |||||||||
| 54262 | 2130 | 105988 | 3325 | |||||||||
| 47869 | 2166 | 93492 | 3387 | |||||||||
| 42888 | 2217 | 83762 | 3464 | |||||||||
| 960 | 47726 | 704 | 15 | 82 | 960 | 93217 | 1099 | 45 | 93 | |||
| 43196 | 794 | 94362 | 1241 | |||||||||
| 35925 | 934 | 70171 | 1457 | |||||||||
| 31692 | 950 | 61898 | 1484 | |||||||||
| 28395 | 972 | 55456 | 1518 | |||||||||
| 720 | 35795 | 396 | 7.5 | 77 | 720 | 69912 | 618 | 18.5 | 88 | |||
| 32397 | 446 | 63271 | 698 | |||||||||
| 26944 | 525 | 52628 | 820 | |||||||||
| 23770 | 534 | 46424 | 835 | |||||||||
| 21296 | 547 | 41592 | 854 | |||||||||
| 10.5 | 1450 | 83450 | 1769 | 75 | 94 | 13 | 960 | 104856 | 1188 | 55 | 94 | |
| 75523 | 1998 | 94896 | 1342 | |||||||||
| 62819 | 2346 | 78933 | 1576 | |||||||||
| 55413 | 2390 | 69627 | 1605 | |||||||||
| 49646 | 2444 | 62380 | 1642 | |||||||||
| 960 | 55250 | 775 | 18.5 | 87 | 720 | 78642 | 668 | 22 | 90 | |||
| 50001 | 876 | 71172 | 755 | |||||||||
| 41591 | 1028 | 59200 | 886 | |||||||||
| 36687 | 1047 | 52220 | 903 | |||||||||
| 32869 | 1071 | 46785 | 923 | |||||||||
| 720 | 41437 | 436 | 11 | 79 | 560 | 61166 | 404 | 11 | 81 | |||
| 37501 | 492 | 55356 | 456 | |||||||||
| 31193 | 585 | 46044 | 536 | |||||||||
| 27515 | 589 | 40616 | 546 | |||||||||
| 24651 | 602 | 36388 | 558 | |||||||||
| 11 | 1450 | 95949 | 1941 | 90 | 104 | 13.5 | 960 | 117426 | 1282 | 75 | 99 | |
| 86834 | 2192 | 106272 | 1447 | |||||||||
| 72228 | 2575 | 88396 | 1700 | |||||||||
| 63712 | 2623 | 77974 | 1731 | |||||||||
| 57081 | 2682 | 69859 | 1771 | |||||||||
| 960 | 63524 | 851 | 22 | 89 | 720 | 88070 | 721 | 30 | 93 | |||
| 57490 | 961 | 79704 | 814 | |||||||||
| 47820 | 1128 | 66297 | 956 | |||||||||
| 42182 | 1149 | 58480 | 974 | |||||||||
| 37792 | 1176 | 52394 | 996 | |||||||||
| 720 | 47643 | 478 | 11 | 82 | 560 | 68498 | 436 | 15 | 82 | |||
| 43117 | 540 | 61992 | 492 | |||||||||
| 35865 | 635 | 57564 | 578 | |||||||||
| 31636 | 646 | 45485 | 589 | |||||||||
| 28344 | 661 | 40751 | 602 | |||||||||
| 11.5 | 1450 | 109636 | 2122 | 110 | 107 | 14 | 960 | 130963 | 1378 | 90 | 102 | |
| 99222 | 2396 | 118522 | 1557 | |||||||||
| 82532 | 2814 | 98586 | 1828 | |||||||||
| 72801 | 2867 | 86963 | 1862 | |||||||||
| 65224 | 2932 | 77912 | 1905 | |||||||||
| 960 | 72587 | 930 | 30 | 90 | 720 | 98222 | 775 | 37 | 95 | |||
| 65692 | 1050 | 88892 | 875 | |||||||||
| 54642 | 1233 | 73939 | 1028 | |||||||||
| 48200 | 1256 | 65222 | 1047 | |||||||||
| 43183 | 1285 | 58434 | 1071 | |||||||||
| 720 | 54440 | 523 | 15 | 84 | 560 | 76395 | 469 | 18.5 | 84 | |||
| 49268 | 591 | 69138 | 529 | |||||||||
| 40981 | 694 | 57508 | 622 | |||||||||
| 36150 | 707 | 50728 | 633 | |||||||||
| 32387 | 723 | 45448 | 648 |
[上一個: PYHL-14A混流式高溫排煙風機 ]
[下一個: SWF高效低噪混流風機 ]







